|
|||||||||||||||||||||||||||||
BZF系列振動防閉塞裝置(倉壁振動器)用途及特點:
BZF系列防閉塞裝置是以振動電機為激振源的節能通過型產品,它是靠高頻振動和沖擊力,有效地消除由于內摩擦、潮解、帶電、成分偏析等原因而引起的架橋、搭拱、堵塞等現象,從而使物料從倉口順利排出,保證穩定供料所必需的設備。BZF系列防閉塞裝置廣泛應用于冶金、化工、建材、火電、煤炭、食品、水泥、制藥、化肥、糧食、鑄造、陶瓷、磨料等行業中貯料倉的防閉塞之用。BZF系列防閉塞裝置具有體積小、重量輕、高效節能、安裝簡單等優點。
BZF系列振動防閉塞裝置(防閉塞裝置)結構及工作原理:
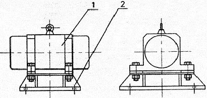
BZF系列防閉裝置的結構如圖1所示。由振動電機(1)、底座(2)兩部分組成。振動電機和底座由螺栓緊密地固定為一體,由于底座堅固地安裝在料倉壁上,這樣就構成了單質點定向強迫振動系統。

當防閉塞裝置工作時,振動電機的高速轉動,便產生了對料倉壁的周期性高頻振動,由于防閉塞裝置的周期性振動,一方面使物料與倉壁脫離接觸、消除物料與倉壁的摩擦,另一方面使物料受交變速度和加速度的影響,處于不穩定狀態,從而有效地克服物料的內摩擦力和聚集力,以消除料倉內物料間的相對穩定性,使物料從料倉口順利排出。
三、BZF系列振動防閉塞裝置(防閉塞裝置)性能參數:
|
型 號
|
電壓
(V) |
功率
(KW) |
適倉壁板
厚(mm) |
倉鉗部容量
(t) |
激振力
kg |
激振頻率
r/min |
振幅
mm |
外形尺寸
(長×寬×高) |
重量
kg |
|
BZF-3
|
380
|
0.09
|
2~3
|
0.5
|
100
|
3000
|
1.5
|
258×260×198
|
11
|
|
BZF-4
|
0.18
|
3.2~4.5
|
1
|
200
|
1.5
|
320×326×265
|
28
|
||
|
BZF-5
|
0.25
|
4.5~6
|
3
|
300
|
2
|
360×328×255
|
40
|
||
|
BZF-6
|
0.37
|
6~8
|
10
|
500
|
2
|
370×460×310
|
60
|
||
|
BZF-9
|
0.75
|
8~10
|
20
|
1000
|
4
|
427×460×374
|
90
|
||
|
BZF-12
|
1.5
|
10~13
|
50
|
2000
|
4
|
470×482×420
|
186
|
||
|
BZF-20
|
2.2
|
13~25
|
150
|
3000
|
5
|
535×520×432
|
220
|
||
|
BZF-30
|
3.7
|
25~40
|
200
|
5000
|
5
|
553×610×453
|
280
|
四、BZF系列振動防閉塞裝置(防閉塞裝置)外形尺寸:
|
型 號
|
BZF-3
|
BZF-4
|
BZF-5
|
BZF-6
|
BZF-9
|
BZF-12
|
BZF-20
|
BZF-30
|
|
L
|
258
|
320
|
360
|
370
|
440
|
470
|
535
|
553
|
|
A
|
239
|
253
|
280
|
298
|
419
|
423
|
470
|
495
|
|
B
|
260
|
326
|
328
|
460
|
462
|
482
|
520
|
610
|
|
H
|
198
|
265
|
255
|
310
|
374
|
420
|
432
|
453
|
|
C
|
199
|
213
|
240
|
248
|
369
|
363
|
410
|
435
|
|
D
|
220
|
286
|
288
|
410
|
412
|
422
|
460
|
500
|
|
Ф
|
10
|
12
|
14
|
16
|
20
|
22
|
34
|
34
|